
農業銀行資料圖
財經365(編輯陳晨),2017農行在售理財產品有哪些?農行的理財產品如何?農業銀行的理財還有保本的產品嗎?農業銀行的理財產品收益如何?有短期理財產品嗎?
一、農行在售理財產品有哪些?

農行在售理財產品有哪些資料圖
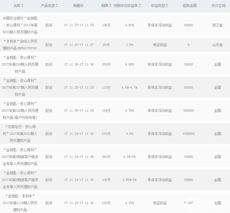
本期,小編整理的農行理財產品中,有兩款理財產品是保證收益的,這兩款理財產品的發行區域一款是山東省,令一款是全國的。山東省的這期產品預期年化收益率是3.5%,天數是28天,今天是募集期的最后一天。而全國的那一款是230天,預期年化收益率是4.15%,起購金額是5萬元。其它的理財產品都是非保本浮動收益產品,非保本的理財天數最少的是102天,天數最多的是362天,非保本產品預期年化收益率最高的是5.0%,那么,4.6%的收益也是本期非保本產品最低的預期年化收益率。具體的要看農行理財產品一覽表了。
農業銀行在售理財產品一覽表:

農行理財產品資料圖
